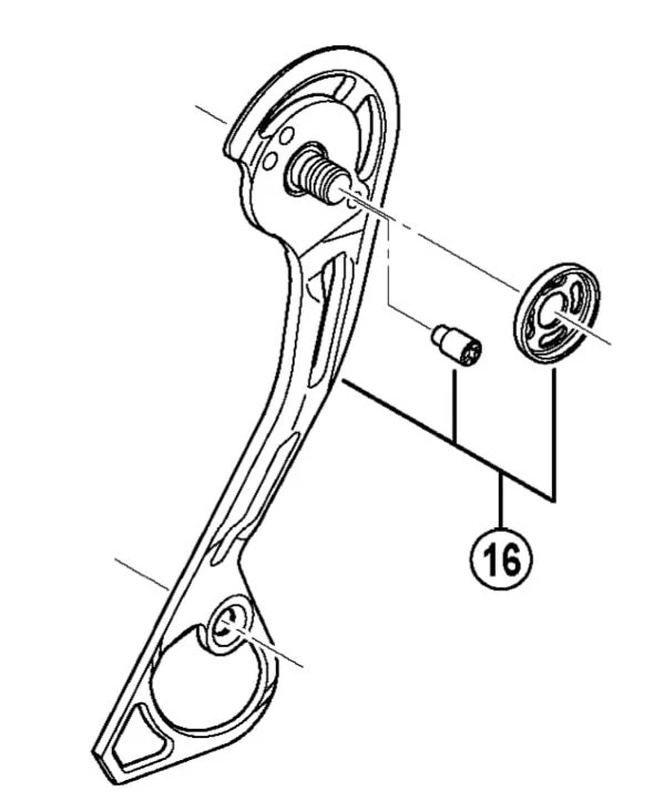
Replacement outer guide for Shimano Deore RD-M615-SGS derailleurs.
Sale!
Shimano Outer Plate (for Deore RD-M615)
Original price was: $5.73.$4.01Current price is: $4.01.
- Safe Payments, Secure Personal Information
- Your questions, our prompt answers.
- Your needs, our top priority.
- Risk-Free Shopping with Returns




Reviews
There are no reviews yet.